Pompe submersible à haut débit
Pompe
Attention : Cette pompe n'est pas adaptée à l'eau osmosée
Description:
Electropompe multi-étapes submersible centrifuge de 5", fabriquée en acier
inoxydable AISI 304 et Noryl.
Adéquat pour fournir une eau propre depuis puits, réservoirs, systèmes d'irrigation,
lavage de véhicules et en général pour tous les types de besoins en pressurisation
de l'eau.
La double garniture mécanique dans la chambre à huile assure une longue
durée de vie et améliore la fiabilité. Fourni avec 20 m de câble d'alimentation.
Caractéristiques:
- Moteur asynchrone, refroidi par le propre liquide véhiculaire.
- Isolation classe F
- Protection IP 68
- 220 V ± 10% 50 Hz
- Condensateur et protection thermoampérométrique à réarmement
automatique intégré
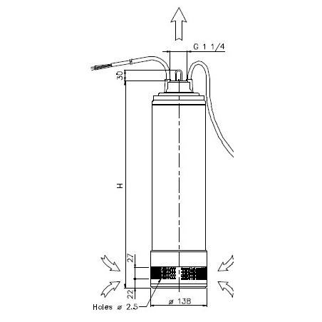
- Ø Drive 1 "¼
Dimensions :

- Immersion maximale : 20 m
- Température maximale du liquide véhiculé : 40ºC
- Fonctionnement en position verticale ou horizontale
- Teneur maximale en solides : 50 ppm
- Pression maximale de travail : 10 bar
| Pompe standard | Pompe à grand volume | |
| Débit maximum (l/h) | 4,800 | 4,800 |
| Hauteur manométrique totale = élévation manométrique maximale | 33,1 | 54,1 |
| Puissance (kW/CV) | 0,45/0,6 | 0,75/1,0 |
| Poid (Kg) | 13 | 16 |
| Hauteur (mm) | 513 | 530 |
| Hauteur manométrique totale m.c.a | Débit (l/min) | |||||
| 0 | 20 | 30 | 40 | 60 | 80 | |
| Pompe standard | 40 | 33,1 | 30,8 | 27,8 | 20 | 10,3 |
| Pompe à grand volume | 60 | 54,1 | 50,2 | 45,4 | 32,6 | 16,8 |
Ces produits sont susceptibles de vous intéresser

